Description
Description
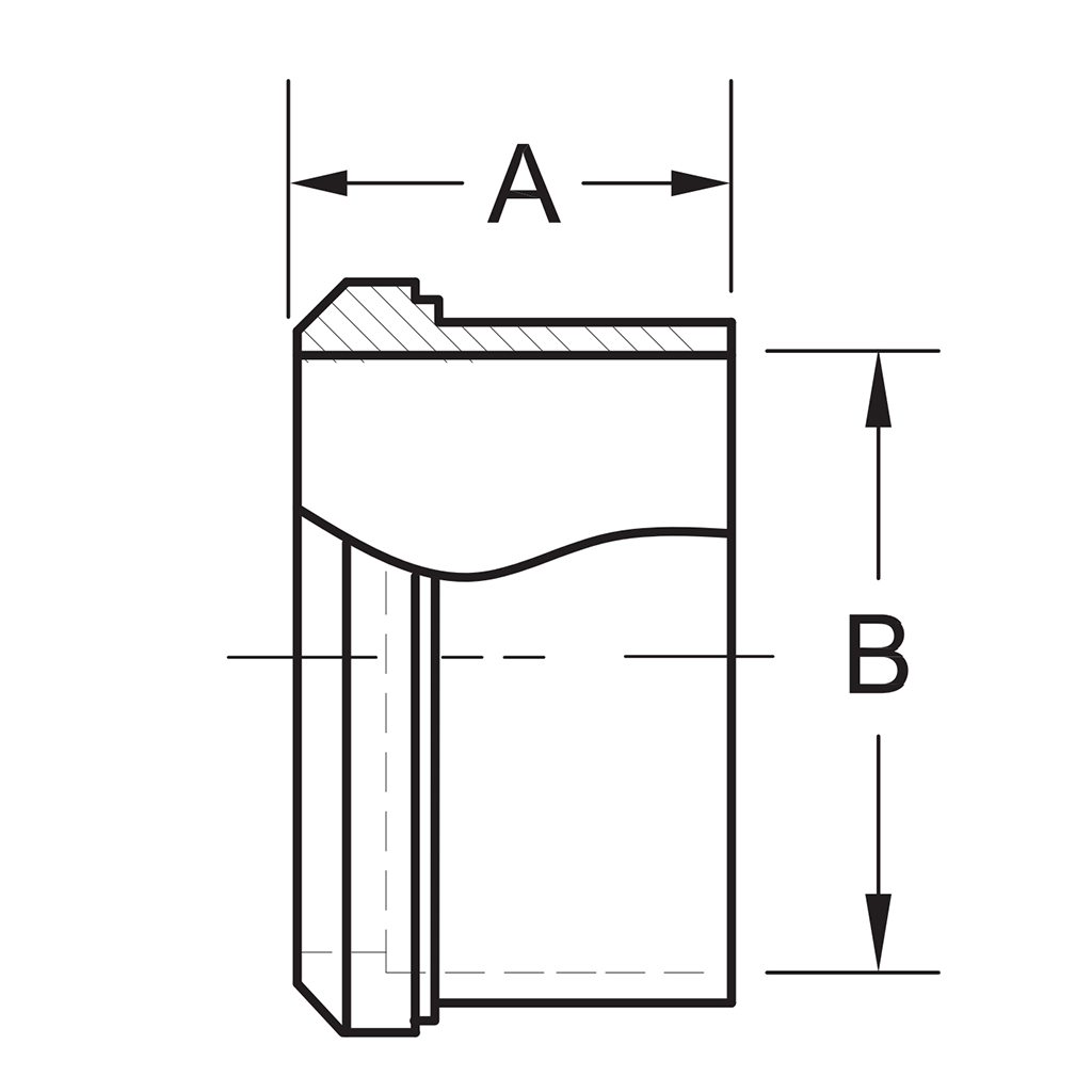
The 14A Bevel Seat Long Plain Ferrule is a sanitary fitting that is combined with a Union Hex Nut and a Threaded Bevel Seat Ferrule to create a bevel seat union. The Bevel Seat Long Plain Ferrule has an elongated butt-weld end that is welded into place on process equipment and piping. The long ferrule is easier to weld and can be welded using an automatic welding machine. This classic style of fitting is used in sanitary processing systems to create hygienic, easy-to-maneuver, durable connections, without comprising the strength or rigidity of the system.
The Bevel Seat Long Plain Ferrule is constructed of 304 or 316L Stainless Steel, and is available in sizes ranging between 1" and 4".
Bevel Seat Long Plain Ferrule Technical Specifications
- Size Range: 1” through 4”
- Materials: 304 & 316L Stainless Steel
- Surface Finish: 32Ra ID/OD
- Wall Thickness:
- 1” through 3” fittings: 0.065”
- 4” Fittings: 0.083”
- Certification: 3A 63-04 #3756 (Sanitary Fittings)
Bevel Seat Long Plain Ferrule Measurements
| Tube O.D. | A | B |
| 1" |
1.37 |
0.87 |
| 1-1/2" |
1.50 |
1.37 |
| 2" |
1.50 |
1.87 |
| 2-1/2" |
1.75 |
2.37 |
| 3" |
1.75 |
2.87 |
| 4" | 1.75 |
3.83 |
Manuals
Manuals
No manual available for download.

